- Главная
- Оборудование для печатных плат
- Оборудование для поверхностного монтажа
- Технологии производства плат и поверхностного монтажа
- Инструмент для печатных плат и Запасные части
- Материалы и Химикаты для печатных плат и поверхностного монтажа
- Гальваническое оборудование
- Лабораторное и аналитическое оборудование
- Сервис и техническое обслуживание
- Как нас найти
- Начало раздела
- Инструмент
- Оборудование
- Запчасти
- Цены
- Словарь
- Контакты
Сверла по металлу UNIMAX C-UMD
Union Tool производит осевой твердосплавный инструмент для металлообработки с 1986г., основываясь на богатом опыте производства твердосплавных микросверл для электронной промышленности.
Японские точность и инновационность
В Union Tool Co. весь металлорежущий инструмент "Made in Japan" - начиная с исследований и разработок, вплоть до проектирования и изготовления своих собственных уникальных производственных машин, которые используются для производства продукции. Это гарантирует известное японское качество и точность. Контроль качества на всех этапах производственного процесса обеспечивает соблюдение строгих требований и гарантирует, что заказчикам предоставляется продукция только безупречного качества.
У компании Union Tool "точность" находится в ДНК и присутствует во всем, что они делают. Union Tool предлагает стандартные инструменты с допуском на точность радиуса +/- 3 микрона, который поддерживается от раза к разу, от партии к партии!
Серия фрез c покрытием HARDMAX позволяется получать высокопрецизионные литьевые формы и штампы, не прибегая к финишным шлифовальным операциям, а новейшее и запатентованное покрытие UDC позволяет напрямую резать заготовки из твердого сплава и керамики.



| Карбид | Сверх мелкозернистая структура | ||||||
| Покрытие | UT MICRO покрытие | ||||||
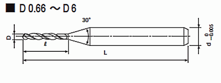
| Диаметр | D 0.1 - D 6 | ||||||
| Допустимые отклонения диаметра |
|
||||||
| Угол заточки | 150° |
Сверла D 3 и D 6 прямого типа.
Дополнительная информация : Режимы резания и примеры сверления
| Модель | Диаметр D | Рабочая длина R | Общая длина L | Диаметр хвостовика d |
| C-UMD 2010-012 | 0.1 | 1.2 | 38 | 3 |
| C-UMD 2011-012 | 0.11 | 1.2 | 38 | 3 |
| C-UMD 2012-014 | 0.12 | 1.4 | 38 | 3 |
| C-UMD 2013-014 | 0.13 | 1.4 | 38 | 3 |
| C-UMD 2014-014 | 0.14 | 1.4 | 38 | 3 |
| C-UMD 2015-020 | 0.15 | 2 | 38 | 3 |
| C-UMD 2016-020 | 0.16 | 2 | 38 | 3 |
| C-UMD 2017-020 | 0.17 | 2 | 38 | 3 |
| C-UMD 2018-020 | 0.18 | 2 | 38 | 3 |
| C-UMD 2019-020 | 0.19 | 2 | 38 | 3 |
| C-UMD 2020-025 | 0.2 | 2.5 | 38 | 3 |
| C-UMD 2021-025 | 0.21 | 2.5 | 38 | 3 |
| C-UMD 2022-025 | 0.22 | 2.5 | 38 | 3 |
| C-UMD 2023-025 | 0.23 | 2.5 | 38 | 3 |
| C-UMD 2024-025 | 0.24 | 2.5 | 38 | 3 |
| C-UMD 2025-030 | 0.25 | 3 | 38 | 3 |
| C-UMD 2026-030 | 0.26 | 3 | 38 | 3 |
| C-UMD 2027-030 | 0.27 | 3 | 38 | 3 |
| C-UMD 2028-030 | 0.28 | 3 | 38 | 3 |
| C-UMD 2029-030 | 0.29 | 3 | 38 | 3 |
| C-UMD 2030-050 | 0.3 | 5 | 38 | 3 |
| C-UMD 2031-050 | 0.31 | 5 | 38 | 3 |
| C-UMD 2032-050 | 0.32 | 5 | 38 | 3 |
| C-UMD 2033-050 | 0.33 | 5 | 38 | 3 |
| C-UMD 2034-050 | 0.34 | 5 | 38 | 3 |
| C-UMD 2035-060 | 0.35 | 6 | 38 | 3 |
| C-UMD 2036-060 | 0.36 | 6 | 38 | 3 |
| C-UMD 2037-060 | 0.37 | 6 | 38 | 3 |
| C-UMD 2038-060 | 0.38 | 6 | 38 | 3 |
| C-UMD 2039-060 | 0.39 | 6 | 38 | 3 |
| C-UMD 2040-070 | 0.4 | 7 | 38 | 3 |
| C-UMD 2041-070 | 0.41 | 7 | 38 | 3 |
| C-UMD 2042-070 | 0.42 | 7 | 38 | 3 |
| C-UMD 2043-070 | 0.43 | 7 | 38 | 3 |
| C-UMD 2044-070 | 0.44 | 7 | 38 | 3 |
| C-UMD 2045-070 | 0.45 | 7 | 38 | 3 |
| C-UMD 2046-070 | 0.46 | 7 | 38 | 3 |
| C-UMD 2047-070 | 0.47 | 7 | 38 | 3 |
| C-UMD 2048-070 | 0.48 | 7 | 38 | 3 |
| C-UMD 2049-070 | 0.49 | 7 | 38 | 3 |
| C-UMD 2050-070 | 0.5 | 7 | 38 | 3 |
| C-UMD 2051-070 | 0.51 | 7 | 38 | 3 |
| C-UMD 2052-070 | 0.52 | 7 | 38 | 3 |
| C-UMD 2053-070 | 0.53 | 7 | 38 | 3 |
| C-UMD 2054-070 | 0.54 | 7 | 38 | 3 |
| C-UMD 2055-070 | 0.55 | 7 | 38 | 3 |
| C-UMD 2056-070 | 0.56 | 7 | 38 | 3 |
| C-UMD 2057-070 | 0.57 | 7 | 38 | 3 |
| C-UMD 2058-070 | 0.58 | 7 | 38 | 3 |
| C-UMD 2059-070 | 0.59 | 7 | 38 | 3 |
| C-UMD 2060-070 | 0.6 | 7 | 38 | 3 |
| C-UMD 2061-070 | 0.61 | 7 | 38 | 3 |
| C-UMD 2062-070 | 0.62 | 7 | 38 | 3 |
| C-UMD 2063-070 | 0.63 | 7 | 38 | 3 |
| C-UMD 2064-070 | 0.64 | 7 | 38 | 3 |
| C-UMD 2065-070 | 0.65 | 7 | 38 | 3 |
| C-UMD 2066-070 | 0.66 | 7 | 38 | 3 |
| C-UMD 2067-070 | 0.67 | 7 | 38 | 3 |
| C-UMD 2068-070 | 0.68 | 7 | 38 | 3 |
| C-UMD 2069-070 | 0.69 | 7 | 38 | 3 |
| C-UMD 2070-080 | 0.7 | 8 | 38 | 3 |
| C-UMD 2071-080 | 0.71 | 8 | 38 | 3 |
| C-UMD 2072-080 | 0.72 | 8 | 38 | 3 |
| C-UMD 2073-080 | 0.73 | 8 | 38 | 3 |
| C-UMD 2074-080 | 0.74 | 8 | 38 | 3 |
| C-UMD 2075-080 | 0.75 | 8 | 38 | 3 |
| C-UMD 2076-080 | 0.76 | 8 | 38 | 3 |
| C-UMD 2077-080 | 0.77 | 8 | 38 | 3 |
| C-UMD 2078-080 | 0.78 | 8 | 38 | 3 |
| C-UMD 2079-080 | 0.79 | 8 | 38 | 3 |
| C-UMD 2080-100 | 0.8 | 10 | 38 | 3 |
| C-UMD 2081-100 | 0.81 | 10 | 38 | 3 |
| C-UMD 2082-100 | 0.82 | 10 | 38 | 3 |
| C-UMD 2083-100 | 0.83 | 10 | 38 | 3 |
| C-UMD 2084-100 | 0.84 | 10 | 38 | 3 |
| C-UMD 2085-100 | 0.85 | 10 | 38 | 3 |
| C-UMD 2086-100 | 0.86 | 10 | 38 | 3 |
| C-UMD 2087-100 | 0.87 | 10 | 38 | 3 |
| C-UMD 2088-100 | 0.88 | 10 | 38 | 3 |
| C-UMD 2089-100 | 0.89 | 10 | 38 | 3 |
| C-UMD 2090-100 | 0.9 | 10 | 38 | 3 |
| C-UMD 2091-100 | 0.91 | 10 | 38 | 3 |
| C-UMD 2092-100 | 0.92 | 10 | 38 | 3 |
| C-UMD 2093-100 | 0.93 | 10 | 38 | 3 |
| C-UMD 2094-100 | 0.94 | 10 | 38 | 3 |
| C-UMD 2095-100 | 0.95 | 10 | 38 | 3 |
| C-UMD 2096-100 | 0.96 | 10 | 38 | 3 |
| C-UMD 2097-100 | 0.97 | 10 | 38 | 3 |
| C-UMD 2098-100 | 0.98 | 10 | 38 | 3 |
| C-UMD 2099-100 | 0.99 | 10 | 38 | 3 |
| C-UMD 2100-100 | 1 | 10 | 38 | 3 |
| C-UMD 2101-100 | 1.01 | 10 | 38 | 3 |
| C-UMD 2102-100 | 1.02 | 10 | 38 | 3 |
| C-UMD 2103-100 | 1.03 | 10 | 38 | 3 |
| C-UMD 2104-100 | 1.04 | 10 | 38 | 3 |
| C-UMD 2105-100 | 1.05 | 10 | 38 | 3 |
| C-UMD 2106-100 | 1.06 | 10 | 38 | 3 |
| C-UMD 2107-100 | 1.07 | 10 | 38 | 3 |
| C-UMD 2108-100 | 1.08 | 10 | 38 | 3 |
| C-UMD 2109-100 | 1.09 | 10 | 38 | 3 |
| C-UMD 2110-100 | 1.1 | 10 | 38 | 3 |
| C-UMD 2111-100 | 1.11 | 10 | 38 | 3 |
| C-UMD 2112-100 | 1.12 | 10 | 38 | 3 |
| C-UMD 2113-100 | 1.13 | 10 | 38 | 3 |
| C-UMD 2114-100 | 1.14 | 10 | 38 | 3 |
| C-UMD 2115-100 | 1.15 | 10 | 38 | 3 |
| C-UMD 2116-100 | 1.16 | 10 | 38 | 3 |
| C-UMD 2117-100 | 1.17 | 10 | 38 | 3 |
| C-UMD 2118-100 | 1.18 | 10 | 38 | 3 |
| C-UMD 2119-100 | 1.19 | 10 | 38 | 3 |
| C-UMD 2120-100 | 1.2 | 10 | 38 | 3 |
| C-UMD 2121-100 | 1.21 | 10 | 38 | 3 |
| C-UMD 2122-100 | 1.22 | 10 | 38 | 3 |
| C-UMD 2123-100 | 1.23 | 10 | 38 | 3 |
| C-UMD 2124-100 | 1.24 | 10 | 38 | 3 |
| C-UMD 2125-100 | 1.25 | 10 | 38 | 3 |
| C-UMD 2126-100 | 1.26 | 10 | 38 | 3 |
| C-UMD 2127-100 | 1.27 | 10 | 38 | 3 |
| C-UMD 2128-100 | 1.28 | 10 | 38 | 3 |
| C-UMD 2129-100 | 1.29 | 10 | 38 | 3 |
| C-UMD 2130-100 | 1.3 | 10 | 38 | 3 |
| C-UMD 2131-100 | 1.31 | 10 | 38 | 3 |
| C-UMD 2132-100 | 1.32 | 10 | 38 | 3 |
| C-UMD 2133-100 | 1.33 | 10 | 38 | 3 |
| C-UMD 2134-100 | 1.34 | 10 | 38 | 3 |
| C-UMD 2135-100 | 1.35 | 10 | 38 | 3 |
| C-UMD 2136-100 | 1.36 | 10 | 38 | 3 |
| C-UMD 2137-100 | 1.37 | 10 | 38 | 3 |
| C-UMD 2138-100 | 1.38 | 10 | 38 | 3 |
| C-UMD 2139-100 | 1.39 | 10 | 38 | 3 |
| C-UMD 2140-100 | 1.4 | 10 | 38 | 3 |
| C-UMD 2141-100 | 1.41 | 10 | 38 | 3 |
| C-UMD 2142-100 | 1.42 | 10 | 38 | 3 |
| C-UMD 2143-100 | 1.43 | 10 | 38 | 3 |
| C-UMD 2144-100 | 1.44 | 10 | 38 | 3 |
| C-UMD 2145-100 | 1.45 | 10 | 38 | 3 |
| C-UMD 2146-100 | 1.46 | 10 | 38 | 3 |
| C-UMD 2147-100 | 1.47 | 10 | 38 | 3 |
| C-UMD 2148-100 | 1.48 | 10 | 38 | 3 |
| C-UMD 2149-100 | 1.49 | 10 | 38 | 3 |
| C-UMD 2150-100 | 1.5 | 10 | 38 | 3 |
| C-UMD 2151-100 | 1.51 | 10 | 38 | 3 |
| C-UMD 2152-100 | 1.52 | 10 | 38 | 3 |
| C-UMD 2153-100 | 1.53 | 10 | 38 | 3 |
| C-UMD 2154-100 | 1.54 | 10 | 38 | 3 |
| C-UMD 2155-100 | 1.55 | 10 | 38 | 3 |
| C-UMD 2156-100 | 1.56 | 10 | 38 | 3 |
| C-UMD 2157-100 | 1.57 | 10 | 38 | 3 |
| C-UMD 2158-100 | 1.58 | 10 | 38 | 3 |
| C-UMD 2159-100 | 1.59 | 10 | 38 | 3 |
| C-UMD 2160-120 | 1.6 | 12 | 38 | 3 |
| C-UMD 2161-120 | 1.61 | 12 | 38 | 3 |
| C-UMD 2162-120 | 1.62 | 12 | 38 | 3 |
| C-UMD 2163-120 | 1.63 | 12 | 38 | 3 |
| C-UMD 2164-120 | 1.64 | 12 | 38 | 3 |
| C-UMD 2165-120 | 1.65 | 12 | 38 | 3 |
| C-UMD 2166-120 | 1.66 | 12 | 38 | 3 |
| C-UMD 2167-120 | 1.67 | 12 | 38 | 3 |
| C-UMD 2168-120 | 1.68 | 12 | 38 | 3 |
| C-UMD 2169-120 | 1.69 | 12 | 38 | 3 |
| C-UMD 2170-120 | 1.7 | 12 | 38 | 3 |
| C-UMD 2171-120 | 1.71 | 12 | 38 | 3 |
| C-UMD 2172-120 | 1.72 | 12 | 38 | 3 |
| C-UMD 2173-120 | 1.73 | 12 | 38 | 3 |
| C-UMD 2174-120 | 1.74 | 12 | 38 | 3 |
| C-UMD 2175-120 | 1.75 | 12 | 38 | 3 |
| C-UMD 2176-120 | 1.76 | 12 | 38 | 3 |
| C-UMD 2177-120 | 1.77 | 12 | 38 | 3 |
| C-UMD 2178-120 | 1.78 | 12 | 38 | 3 |
| C-UMD 2179-120 | 1.79 | 12 | 38 | 3 |
| C-UMD 2180-120 | 1.8 | 12 | 38 | 3 |
| C-UMD 2181-120 | 1.81 | 12 | 38 | 3 |
| C-UMD 2182-120 | 1.82 | 12 | 38 | 3 |
| C-UMD 2183-120 | 1.83 | 12 | 38 | 3 |
| C-UMD 2184-120 | 1.84 | 12 | 38 | 3 |
| C-UMD 2185-120 | 1.85 | 12 | 38 | 3 |
| C-UMD 2186-120 | 1.86 | 12 | 38 | 3 |
| C-UMD 2187-120 | 1.87 | 12 | 38 | 3 |
| C-UMD 2188-120 | 1.88 | 12 | 38 | 3 |
| C-UMD 2189-120 | 1.89 | 12 | 38 | 3 |
| C-UMD 2190-120 | 1.9 | 12 | 38 | 3 |
| C-UMD 2191-120 | 1.91 | 12 | 38 | 3 |
| C-UMD 2192-120 | 1.92 | 12 | 38 | 3 |
| C-UMD 2193-120 | 1.93 | 12 | 38 | 3 |
| C-UMD 2194-120 | 1.94 | 12 | 38 | 3 |
| C-UMD 2195-120 | 1.95 | 12 | 38 | 3 |
| C-UMD 2196-120 | 1.96 | 12 | 38 | 3 |
| C-UMD 2197-120 | 1.97 | 12 | 38 | 3 |
| C-UMD 2198-120 | 1.98 | 12 | 38 | 3 |
| C-UMD 2199-120 | 1.99 | 12 | 38 | 3 |
| C-UMD 2200-120 | 2 | 12 | 38 | 3 |
| C-UMD 2205-120 | 2.05 | 12 | 38 | 3 |
| C-UMD 2210-120 | 2.1 | 12 | 38 | 3 |
| C-UMD 2215-120 | 2.15 | 12 | 38 | 3 |
| C-UMD 2220-120 | 2.2 | 12 | 38 | 3 |
| C-UMD 2225-120 | 2.25 | 12 | 38 | 3 |
| C-UMD 2230-120 | 2.3 | 12 | 38 | 3 |
| C-UMD 2235-120 | 2.35 | 12 | 38 | 3 |
| C-UMD 2240-120 | 2.4 | 12 | 38 | 3 |
| C-UMD 2245-120 | 2.45 | 12 | 38 | 3 |
| C-UMD 2250-120 | 2.5 | 12 | 38 | 3 |
| C-UMD 2255-120 | 2.55 | 12 | 38 | 3 |
| C-UMD 2260-120 | 2.6 | 12 | 38 | 3 |
| C-UMD 2265-120 | 2.65 | 12 | 38 | 3 |
| C-UMD 2270-120 | 2.7 | 12 | 38 | 3 |
| C-UMD 2275-120 | 2.75 | 12 | 38 | 3 |
| C-UMD 2280-120 | 2.8 | 12 | 38 | 3 |
| C-UMD 2285-120 | 2.85 | 12 | 38 | 3 |
| C-UMD 2290-120 | 2.9 | 12 | 38 | 3 |
| C-UMD 2295-120 | 2.95 | 12 | 38 | 3 |
| C-UMD 2300-120 | 3 | 12 | 38 | 3 |


